![]() |
Apple lên kế hoạch sản xuất iPhone dạng nắp gập |
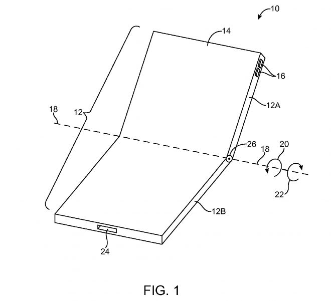
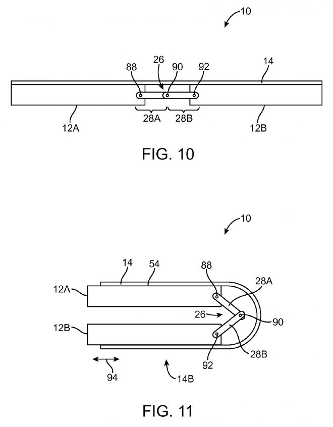
Hãng công nghệ quả táo khuyết Apple vừa nhận được bằng sáng chế cho một mẫu iPhone màn hình OLED cong có khả năng gập đôi. Theo đó, có khả năng chiếc smartphone thế hệ tiếp theo của Apple sẽ được thiết kế dạng nắp gập – mở rộng đa dạng sản phẩm nhằm thu hút sự quan tâm của người dùng.
Trong những tấm ảnh hé lộ trên mạng cho thấy thiết kế của chiếc smartphone gồm có hai phần tách biệt nằm đối xứng với nhau. Tuy nhiên một câu hỏi đặt ra là không biết phần nào mới là phần được trang bị đèn nền (bên trong hay bên ngoài hay cả hai) cho chiếc iPhone nắp gập này.
Hiện tất cả chỉ trên giấy tờ, do đó người tiêu dùng phải chờ đợi khá lâu trước khi có thể trải nghiệm chiếc siêu phẩm độc đáo này.
Một số hình ảnh phác họa chiếc iPhone nắp gập:
![]() |
![]() |
|
|
Xem thêm video:




Bình luận bài viết (0)
Gửi bình luận